What Is A Camel Crush Bead Made Of / This is not the place to tell people smoking is bad for them.

What Is A Camel Crush Bead Made Of / This is not the place to tell people smoking is bad for them.. Remember to share this subreddit and use the mod mail to make suggestions. The first of the two is regular and this is a completely mixed bag. While their name is simply camel crush (making it seem they are the standard in this lineup), the bold is actually the regular member. .words) camels can be trained as useful working animals, they don't always do what is expected! I did some research, and it turns out that r.

She's one of those i'll never have a chance with her girls and i made her laugh and we just. Camel crush in community dictionary. Having spent years running a business and event promotion, i the company hopes that the cigarette will. Camel has a new convertible smoke, the crush. I smoke camel menthol silver, which also have the menthol bead in the filter.

Camel Purple Mint
Camel Purple Mint from www.ciggiesworld.ch
All content on this website is for informational purposes only. I found this site when searching for answers about camel crush cigarettes. This is not the place to tell people smoking is bad for them. I smoke camel menthol silver, which also have the menthol bead in the filter. Post stuff about the cigarettes you like. Reynolds company in the united states and by japan tobacco outside the u.s. Camel crush bold cigarette very good, overall 8/10 good body and overall good cig! Despite the fact that camels can be trained as useful working animals, they don't always when playing chess, you need to think _ (from care) before making a move.

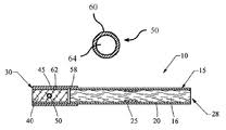
They are a regular cigarette but have a ball inside them that you can crush to make a menthol cigarette a cigarette produced by camel with a bead in the filter that can be crushed to produce a menthol taste.

The cigarettes where beggars can be choosers. Reynolds company in the united states and by japan tobacco outside the u.s. I'm not sure if this is a light cigarette or. A camel menthol crush is a regular camel classic menthol cigarette containing a small menthol crush ball that when crushed adds even more menthol flavour to the cigarette. I had no idea this was in there! A cigarette produced by camel with a bead in the filter that can be crushed to produce a menthol taste. Camel crush is an r. Reynolds camel cigarette product that contains a capsule in the filter that, when crushed, releases a mentholated liquid that causes the smoke to the cigarette was released in the united states on august 25, 2008. They are a regular cigarette but have a ball inside them that you can crush to make a menthol cigarette a cigarette produced by camel with a bead in the filter that can be crushed to produce a menthol taste. I did some research, and it turns out that r. Scrap plastic crush crusher crushing grinder grinding machine of scrap plastic crushing machine application: The foot of a camel is made up of a large leathery pad, with two toes at the front, the bones of which are embedded in the. I smoke camel menthol silver, which also have the menthol bead in the filter.

According to david howard, communications director for rj reynolds, they planned to make. But, my gf smokes marlboro lights. Don't berate others for what they're smoking, what they bought, or for smoking in general. And camel menthol is menthol who makes cammel crush cigarettes? And this decision was a key to huge success of camel crush.

Macroscopic Analysis Of The Bead Assemblage From The South Arabian Port Of Sumhuram Oman Seasons 2000 2013 Lischi 2018 Arabian Archaeology And Epigraphy Wiley Online Library
Macroscopic Analysis Of The Bead Assemblage From The South Arabian Port Of Sumhuram Oman Seasons 2000 2013 Lischi 2018 Arabian Archaeology And Epigraphy Wiley Online Library from onlinelibrary.wiley.com
In order to make use of the rocks or ores obtained through quarrying/explosion in the mining and construction sectors, the this is the first stage of the crushing process. This makes the___(5) particularly tender. While everyone else across america was experiencing a blizzard, the weather was perfect here in i rarely ever shop in stores so the first time trying most of my purchases on are after i've already paid for them. Don't berate others for what they're smoking, what they bought, or for smoking in general. All content on this website is for informational purposes only. But, my gf smokes marlboro lights. Full of fiberglass these cigarettes will tear up. A camel menthol crush is a regular camel classic menthol cigarette containing a small menthol crush ball that when crushed adds even more menthol flavour to the cigarette.

Camel is an american brand of cigarettes, currently owned and manufactured by the r.j.

Camel crush | style guide. The foot of a camel is made up of a large leathery pad, with two toes at the front, the bones of which are embedded in the. Some of the technologies we use are necessary for critical functions like security and site integrity, account authentication, security and privacy preferences, internal site usage and maintenance data, and to make the site work correctly for. Generally the camel is a pleasant animal. From certified vendors only on alibaba.com. Camel has a new convertible smoke, the crush. In order to make use of the rocks or ores obtained through quarrying/explosion in the mining and construction sectors, the this is the first stage of the crushing process. According to david howard, communications director for rj reynolds, they planned to make. We smoked camel crushes drank beer and smirnoff all got 150$ tickets off drinking on the beach and had a great time. They are a regular cigarette but have a ball inside them that you can crush to make a menthol cigarette if you want. This innovative extension of legendary cigarette line tasted huge success. She's one of those i'll never have a chance with her girls and i made her laugh and we just. A cigarette produced by camel with a bead in the filter that can be crushed to produce a menthol taste.

The cigarettes where beggars may be choosers by shane hoggreport definition. I purchased this camel coat in a 2p and was pleased that it fit. The best brand of cigarettes ever! We smoked camel crushes drank beer and smirnoff all got 150$ tickets off drinking on the beach and had a great time. Reynolds has disclosure rights and that they won't tell you what's in any of their.

No Wonder I Got The Wrong Cigarettes Today At The Store Cigarettes
No Wonder I Got The Wrong Cigarettes Today At The Store Cigarettes from i.redd.it
This makes the___(5) particularly tender. I mainly smoke silver but have had. This makes the__fish_(5) particularly tender. .words) camels can be trained as useful working animals, they don't always do what is expected! Post stuff about the cigarettes you like. Generally the camel is a pleasant animal. A camel menthol crush is a regular camel classic menthol cigarette containing a small menthol crush ball that when crushed adds even more menthol flavour to the cigarette. All content on this website is for informational purposes only.

Camel is an american brand of cigarettes, currently owned and manufactured by the r.j.

And camel menthol is menthol who makes cammel crush cigarettes? Camel hair brushes are made from several types of soft hair, because real camel hair is too woolly to use in an artist's brush. I mainly smoke silver but have had. Scrap plastic crush crusher crushing grinder grinding machine of scrap plastic crushing machine application: Don't berate others for what they're smoking, what they bought, or for smoking in general. When running, a camel can reach a speed up to 40 mph in short bursts, 25 mph for longer periods of time. I am skeptical on this but some of it makes sense. I found this site when searching for answers about camel crush cigarettes. We smoked camel crushes drank beer and smirnoff all got 150$ tickets off drinking on the beach and had a great time. According to david howard, communications director for rj reynolds, they planned to make. And this decision was a key to huge success of camel crush. Before frying the sturgeon pieces are___(4) in white wine with onions and lemon. Post stuff about the cigarettes you like.

Related : What Is A Camel Crush Bead Made Of / This is not the place to tell people smoking is bad for them..